Motor do BR 64, 365.4 ČSD Roco

Specializované fórum pouze pro příznivce velikosti H0 (1:87).

Moderátor: Michal Dalecký

Motor do BR 64, 365.4 ČSD Roco

Příspěvekod z.rj » sob 07 říj, 2017 11:52 am

Poradí prosím někdo jakým motorem nejlépe nahradit porouchaný motor v této loko.
z.rj
 
Příspěvky: 53
Registrován: pát 06 říj, 2017 9:19 am

Re: Motor do BR 64, 365.4 ČSD Roco

Příspěvekod Brejla » sob 07 říj, 2017 12:43 pm

Nejlépe originálem, který ti objedná každý slušný prodejce. S motory Roco problémy nebývají, tady bych náhradu neřešil. Navíc v modelu na nějaké experimentování není moc místa. Co vůbec tomu motoru je? Nejsou jen ojeté uhlíky nebo zašpiněný kolektor?
Katalog ND http://www.roco.cc/doc/et/1/de/73203_203344.pdf, cena cca 11,80€.
Brejla
 
Příspěvky: 1421
Registrován: sob 18 črc, 2015 8:25 am

Re: Motor do BR 64, 365.4 ČSD Roco

Příspěvekod z.rj » sob 07 říj, 2017 7:09 pm

Děkuji za reakci. Samo, že origo nejlepší. Bohužel prodejce nesehnal,tak kolega objednal v Německu. Tam po měsících prodejce nedodal s tím, že se momentálně nevyrábí žádný model s tímto motorem. Motor má prodřený komutátor od uhlíků skoro až na plastový střed a v podstatě se porozpadl. Ta cena je neskutečně nízká. Prodejce v Něm. udával kolem 50 eur. Mě spíš hodně překvapuje, že podobný problém tady na foru ještě nebyl řešen. Čtu forum asi 3-4 roky. Původně když loko začala mít nepravidelný chod a různě svévolně měnit rychlost tak jsem to konzultoval s kolegou, který rozumí digitálu. Je to TTčkář a u něho jsme zjistili, že vzhledově totožný motor má brejlovec od Roca v TT. A u těchto strojů měli TTčkáři s jízdou stejné problémy. Řeší to výměnou uhlíků od Fleisch. U mého motoru na toto však už bylo pozdě. Druhá 365.4 kterou provo zuji kratší dobu blbla taky. Vyměnil jsem u ní uhlíky ze zásob za silnější a delší.Zatím jezdí, ale není to úplně ono. Origo uhlíky mají oproti "patroně" ve které jsou v motoru uloženy moc malý průměr a všeljak tam vaklají. Na pohled stejný motor mají ještě minimálně V 36, T 334.0 ČSD a 431.0 , kterou jsem pro podobné problémy odstavil. Motor jsem u té 431 ještě nerozebral.
z.rj
 
Příspěvky: 53
Registrován: pát 06 říj, 2017 9:19 am

Re: Motor do BR 64, 365.4 ČSD Roco

Příspěvekod hummus » sob 07 říj, 2017 7:54 pm

Ta cena 11,8 € je hodně podivná. V seznamu náhradních dílů má motor Preisgruppe 27, což dle nejnovějšího ceníku, který má ROCO na stránkách (http://www.roco.cc/uploads/service/downloads/20171022_BRUTTO_ET_Preisliste.pdf) odpovídá ceně 48,6 € (ikdyž 22.10 ještě nebylo, ale obchodníci se tím už asi řídit budou). To by sedělo k té ceně 50 €.
HO - DCC, IVb
Uživatelský avatar
hummus
 
Příspěvky: 611
Registrován: pon 04 pro, 2006 8:13 am
Bydliště: Praha 9

Re: Motor do BR 64, 365.4 ČSD Roco

Příspěvekod Bedlisch » ned 08 říj, 2017 11:14 am

Brejla píše: S motory Roco problémy nebývají, tady bych náhradu neřešil.

Tak to bych tedy v tomto případě tak až netvrdil. Pokud vím, tak tyhle motory se používají i v TT a dost bída s vedením uhlíků. Takže motor mívá nepravidelný chod, velký odběr apod. Kolega ten samý problém měl i u této 365.4. Možná to je pak i příčinou prodření komutátoru.
Jinak řešení viz: viewtopic.php?f=16&t=4178&p=74431&hilit=6518#p74431
udělal jsem to samé za pomocí uhlíků FLEISCHMANN 6518 a už to jezdí normálně.
Bedlisch
 
Příspěvky: 350
Registrován: úte 09 lis, 2010 8:43 pm
Bydliště: Liberec

Re: Motor do BR 64, 365.4 ČSD Roco

Příspěvekod Charlie » stř 13 led, 2021 12:08 am

Zdravím, mám model 365.4 od Roca a chtěl bych ho ozvučit. Nedaří se mi ale sundat z lokomotivy kotel s budkou. Šroub za komínem mám vytočený a kotel jde trochu nadzvednout, ale vzadu to za něco drží a já nevím jak na to. Může někdo poradit?
Děkuji.
ČSD, H0, H0e, DCC LENZ LZV200 + analog z ovládacího pultu.
Uživatelský avatar
Charlie
 
Příspěvky: 408
Registrován: čtv 15 led, 2009 7:24 pm
Bydliště: Luka nad Jihlavou

Re: Motor do BR 64, 365.4 ČSD Roco

Příspěvekod A2C » stř 13 led, 2021 2:28 am

Kabína je z dvoch dielov, pozor budú vypadávať madlá!
Proste musíš jemne ale iste zámky tlakom uvoľniť.
Potom vyberieš motor a vycvakneš aj vane a zbytok búdky. Potom sa dostaneš k závažiu a tam budeš laborovať ako to osadiť a kam!...
ČSD ep.IIb + III-IVa + ŽSR. H0, H0e
Z21, Profi-Boss, Multimouse
Uživatelský avatar
A2C
 
Příspěvky: 1744
Registrován: čtv 21 led, 2010 10:32 am
Bydliště: Bratislava, Dúbravka

Re: Motor do BR 64, 365.4 ČSD Roco

Příspěvekod Charlie » čtv 14 led, 2021 6:50 pm

Ty západky jsou v těch kroužcích? Pokud ano, tak jak na ně působit? Tlačit, nebo do nějakého směru? Zatím se mi to nedaří a z mašiny mi odpadávají detaily...
Obrázek
ČSD, H0, H0e, DCC LENZ LZV200 + analog z ovládacího pultu.
Uživatelský avatar
Charlie
 
Příspěvky: 408
Registrován: čtv 15 led, 2009 7:24 pm
Bydliště: Luka nad Jihlavou

Re: Motor do BR 64, 365.4 ČSD Roco

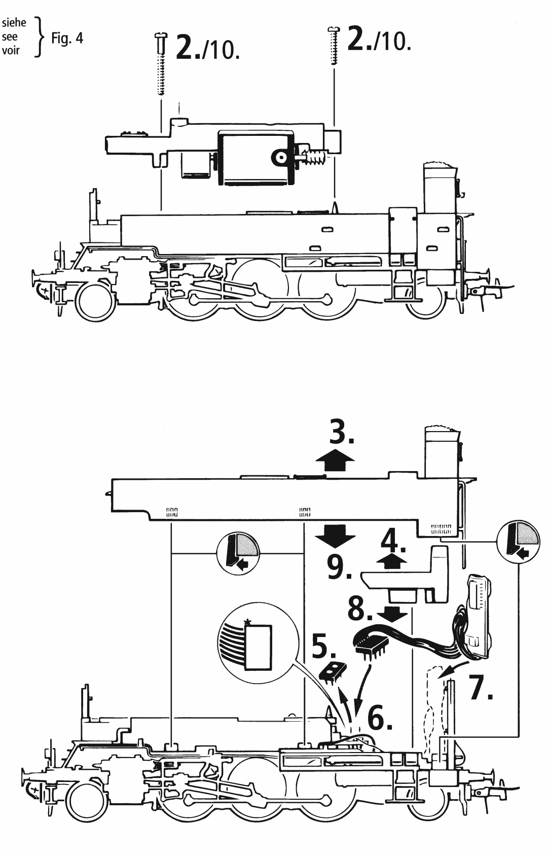
Příspěvekod horak » čtv 14 led, 2021 10:02 pm

A co takto pozriet manual...
Screenshot_20210114-225719_WPS Office.jpg

Screenshot_20210114-225840_WPS Office.jpg
Obsah príspevku je bez môjho súhlasu iba na NEKOMERČNÝ účel. Zásah do SW/HW je Vaše vlastné riziko!
horak
 
Příspěvky: 750
Registrován: pát 17 srp, 2012 5:46 am
Bydliště: Bratislava

Re: Motor do BR 64, 365.4 ČSD Roco

Příspěvekod Charlie » čtv 14 led, 2021 10:40 pm

No, jo! Murphyho zákon - Když už si nevíš rady, použij manuál. Musím se přiznat, že jsem na tuto možnost zapomněl, i když se to možná zdá nepochopitelné. Doma ho totiž k tý lokomotivě nemám. Děkuji za nasměrování.
ČSD, H0, H0e, DCC LENZ LZV200 + analog z ovládacího pultu.
Uživatelský avatar
Charlie
 
Příspěvky: 408
Registrován: čtv 15 led, 2009 7:24 pm
Bydliště: Luka nad Jihlavou

Re: Motor do BR 64, 365.4 ČSD Roco

Příspěvekod novk2007 » pát 15 led, 2021 6:14 am

Tady kousek od mě v Kamen mají skladem 4 kusy https://www.modellbahnunion.com/Roco-85 ... debox=box1
novk2007
 
Příspěvky: 870
Registrován: ned 23 říj, 2011 6:58 am


Zpět na Velikost H0 (komunita H0)

Kdo je online

Uživatelé procházející toto fórum: Žádní registrovaní uživatelé a 1 návštěvník